RC340 9 1/4 - Portagomma maschio cilindrico con O-Ring
Codice: 36.397.0

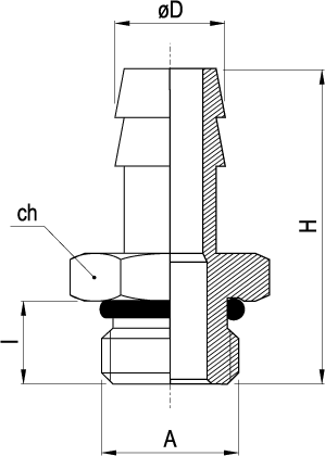
Sigla: RC340 9 1/4

øDA I H ch confez.codice
9G1/4"832175036.397.0