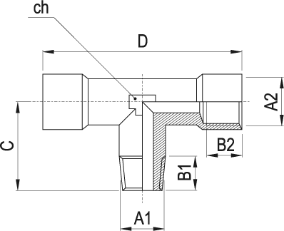
RC440 1/4 - Raccordo a T con filetto maschio conico centrale
Codice: 36.354.0

Sigla: RC440 1/4

A1A2B1 B2 C D ch confez.codice
R1/4"G1/4"111123.551135036.354.0